Dodge Durango Bumper Clips

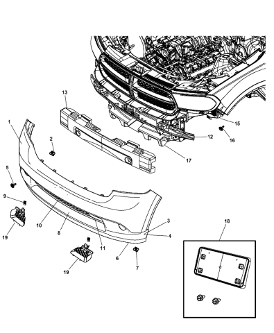
Bumper Components Front For 2019 Dodge Durango Tascaparts Com

Bumper Components Front For 2019 Dodge Durango Tascaparts Com

Dodge Durango Bumper Cover Bumper Action Crash Street Scene

Dodge Durango Bumper Cover Bumper Action Crash Street Scene

1998 2003 Dodge Durango 1997 2004 Dodge Dakota Duraflex Bt 1 Front

1998 2003 Dodge Durango 1997 2004 Dodge Dakota Duraflex Bt 1 Front

How Much Does It Cost To Repair A Front Bumper At A Body Shop

How Much Does It Cost To Repair A Front Bumper At A Body Shop

Mopar Parts Restoration Parts 1994 Up Dodge Truck Oem Body Parts

Mopar Parts Restoration Parts 1994 Up Dodge Truck Oem Body Parts